一、什么是智能订单加粉?
是指打通各大电商平台(淘系、京东、有赞、抖店、微盟....),当商家在这些电商平台的店铺有新订单时候,会自动获取订单中的收货手机号,并对手机号批量进行AI智能外呼,当用户有加好友意向时,会将对手机号发送确认短信,并将手机号分配给员工实时去添加。
上传流程中,商家可以指定订单状态去执行,可以实现多个状态都去加好友,直到加成功为止。

二、怎么智能订单加粉?
a、进入【爆粉通】-【智能订单加粉】-【加好友设置】-开启订单自动加好友

b、选择需要加粉的电商店铺,这些店铺有新订单时,会自动获取新订单的手机号,这个手机号会根据设置的任务自动执行加好友注:如果导入的手机号在系统中已存在,将自动过滤不在添加
注:如果同一个手机号同时有多笔订单时,之后对最早的一笔订单执行加好友的动作,当这笔订单的加好友任务全部结束后,且这个手机号没有添加成功时。有同一手机号的订单才会再次执行加好友任务。否则全部同手机号的订单都将自动过滤。

c、可以加好友的订单状态有三种,用户可以开启一种或多种状态下加好友。当手机号在其中一种状态加好友成功后,后面的状态任务将不在执行。

d、每一种订单状态都有四种加粉方式,商家可根据自身情况中选择一种方式。
- AI外呼+发短信+分配员工加粉:是指有新的订单收货手机号时,会导入手机号进行AI智能外呼,用户接电话并确定有加好友意向时,接着会给有意向的手机号发送商家指定的短信内容,通过双重触达后再分配给选中的员工,员工会收到实时提醒,要求员工实时去添加当前这个手机号为好友.

注:对没有意向的客户会自动过滤,不给客户发短信或分配注:启用该项需注意AI外呼和短信费用充足否则AI外呼和发短信将失败,加粉任务将中断。
- AI外呼+分配员工加粉:是指有新的订单收货手机号时,会导入的手机号进行AI智能外呼,用户接到电话确定有加好友意向时,接着会将有意向的手机号分配给选中的员工,员工会收到实时提醒,要求员工实时去添加当前这个手机号为好友。
- 发短信+分配员工加粉:新的订单收货手机号时,会导入的手机号发送商家指定的短信内容,通过短信触达后再分配给选中的员工,员工会收到实时提醒,要求员工实时去添加当前这个手机号为好友。
注:因为没有AI外呼,所以手机号将批量平均分配给指定员工。不会像上面两种方式外呼完一个有意向就会立即分配一个。
仅分配员工加粉:是指新的订单收货手机号时,会将导入的手机号分配给选中的员工,员工会收到实时提醒,要求员工实时去添加当前这个手机号为好友。
以上四种分配员工方式均为:平均分配。要使用前面3种方式,需要开通AI外呼功能或充值短信。如何开通请联系您的服务专员e、设置加粉时间段:建议是在8:00-20:00,导入手机号是在设置的时间段内,则任务会立即开始执行,若不在时间段内则会到了时间段之内才会执行。注:当导入的手机号一天只能没有执行完,会到第二天的任务时间在接着执行。
注:当有开启AI外呼的时候,加粉时间要在AI外呼时间段之内,这是为了避免导入大量手机号,但没有到外呼时间,导致外呼失败。建议加粉时间和外呼时间保持一致,避免任务失败。

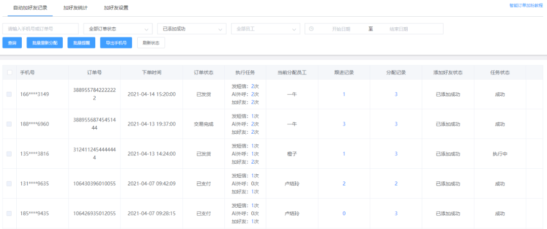
f、保存,智能订单加粉功能开始,指定店铺有新订单时,会检测新订单的手机号是否添加过好友,若没有添加过好友就会看是否有任务在执行,若没有任务就会创建加好友任务,并生成加好友记录

在任务时间段内,系统会执行加粉任务,将有意向的手机号通过 “耀世注册助手” 通知选中的员工。

打开工作台-【客户联系】-【添加客户】复制手机号添加好友

已复制的手机号会进入【已添加未成功】状态,即等待好友通过状态。好友通过后会自动变为【添加成功】。员工可以通过此消息弹窗了解自己添加客户的情况
注:若这个手机号已是好友,员工可手动点击“已是好友 ”按钮,系统会查询这个好友是否存在,若存在标记这个手机号未添加成功

若不存在则弹出提示。

任务执行完后,系统会自动监控员工添加好友的情况,好友是否有意向、短信是否发送成功,员工是否有添加好友,是否添加成功




309
